近期,由迪丽热巴、杨洋、潘粤明领衔主演的电视剧《你是我的荣耀》迎来大结局,如观众所愿,看到了乔晶晶和于途的婚礼,最后也看到了搜神号的成功发射!

《你是我的荣耀》整部剧,
不仅仅和中国航天进行了联动,
同时还与国民手游—王者荣耀疯狂互动。
两者同是鹅厂出品,
相互作用下为鹅厂疯狂的收割热度与关注度,
大结局提前点播更是因为观看人数太多,
直接挤爆了服务器。

而大厂的知产保护意识强到离谱。
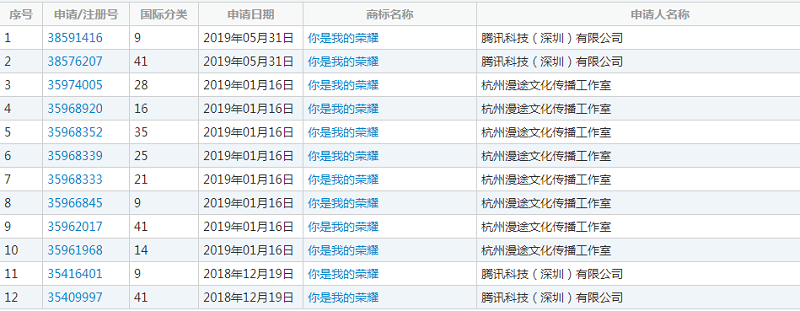
2018年12月19日,顾漫尚未将小说创作完成时,腾讯公司就分别在第9类和第41类将“你是我的荣耀”作为商标申请注册。

但是很不幸,由于缺乏显著性,这两件商标都被驳回了。
2019年5月31日,腾讯公司重新对“你是我的荣耀”商标图样进行设计,加入了独创设计的“荣耀夫妇”和卫星的图形元素,修改之后的商标因具有显著性,目前已经获准注册。
