欢迎访问中华商标网

首页 > 商标要闻

王老吉申请“新婚大吉”商标引热议,网友:怕离婚喝王老吉?

2021-07-14 12:16:53
字号: 默认 超大
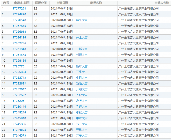
  7月5日,“王老吉申请新婚大吉商标”引发网友热议,一度冲上热搜榜第二位。
  小编查询发现,
  其实不光新婚大吉,还有:
  新年大吉、升职大吉、端午大吉、开工大吉、高考大吉、中秋大吉……
  对此,不少网友并不买账:
  以后说祝福语,要给钱才能说?
  吉吉国王不来一个?
  不过,也有不少理性的网友表示:
  只是不能在自己的产品上使用相同标志而已。
  天眼查App显示,
  王老吉申请的这些商标,
  国际分类均为啤酒饮料,
  当前商标状态仍为商标申请中。
  不仅如此,今年2月份,
  “王老吉”还申请了百家姓系列“X老吉”商标。
  “萧老吉、程老吉、赵老吉、孙老吉……”
  中国商标网公开信息显示,
  这些商标均是在2021年2月3日一天之内申请的,共计100个。
  且这些商标申请的均非30类凉茶商品,而是在32类啤酒、茶味非酒精饮料、果汁等商品中。
  无独有偶,今年6月份,
  小红书申请“老红书”商标,
  也引发网友热议,一度冲上热搜。
  有网友表示不解,直接发问:为啥?他打算过两年变老了改名老红书吗?
  也有网友直言,“小红书多可爱,老红书感觉是给我爷爷用的”。
  还有网友表示,以后是中老年的天下,老浪、老抖、老快、老微在路上了。
  虽然网友调侃“红橙黄绿青蓝紫都来一本”,
  但是小红书为了自家的商标布局,
  早年的确申请过彩虹色相关商标。
  “小红书”、“小橙书”、“小绿书”、“小蓝书”、“小紫书”、“小橘书”都已被小红书公司申请注册。
  另外,“小白书”、“小黑书”、“小灰书”、“小花书”、“小桔书”等也已被小红书公司申请商标。
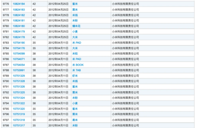
  网友也不忘记调侃小米去申请“老米”商标,
  事实上小米公司早就申请了各式各样的“米”式家族商标。
  可能由于“米”式家族太过旺盛,
  最后直接连“米家”、“粮厂”、“粗粮厂”、“粮店”、“良厂”都申请了。
  除了小红书和小米,阿里家族商标也很繁荣。
  “阿里爸爸”、“阿里妈妈”、“阿里爷爷”、“阿里奶奶”、“阿里姑姑”、“阿里叔叔”、“阿里姐姐”、“阿里妹妹”、“阿里哥哥”、“阿里宝宝”......
  而去年底,
  老干妈的一张巨幅“商标族谱”,
  让网友们见识到了一家知名企业对于“商标护城河”的重视。
  “老干妈”早在2007年就申请了“老干爸”、“老干爹”、“老干娘”等等商标,老干妈家族的商标都是“爸妈”辈的。
  中国商标网数据显示,
  与“老干妈”相关的商标有132个,
  其中117个为贵阳南明老干妈风味食品有限责任公司注册。
  对此,专家表示,
  这些公司并不是为了搞笑才注册这么多商标,而是一种防御性的注册。
  有的是为了防止别人“蹭热度”,把沾边的商标统统注册一遍,避免恶性竞争。有的是防御性注册,尽可能对所申请的商标进行多类别注册,以避免对企业产生不利影响。
  (本文仅代表作者观点,本号对此保持中立)

  来源:半岛都市报